您的當前位置:首頁 > 產品知識 > 更多產品知識 > 水力分析
作者:紅星機器 發布時間:2017-06-25 18:07:02
水力分析(簡稱水析)是借測定顆粒的沉降速度間接測量顆粒粒度組成的方法。常用于小于0.1mm物料的粒度組成測定。常用水析法有三種:重力沉降法、上升水流法和離心沉降法。測定對象是小于0.1mm的物料。測定條件在自由沉降條件下進行,懸浮液的固體容積濃度小于3%,按斯托克斯沉降速度公式計算,即
![]()
式中 h———沉降距離,m;
t———沉降時間,s;
其他符號意義同前。為了防止水析過程中固體顆粒團聚,通常加入水玻璃等分散劑,它們在水中的濃度是0.01%~0.2%。
沉降水析法
沉降法中比較簡單而又可靠的方法是淘析法,淘析法的基本原理是利用逐步縮短沉降時間的方法,由細至粗、逐步地將各粒級物料從試料中淘析出來。
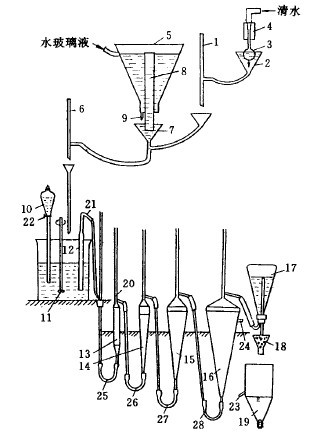
淘析法水析裝置也稱薩巴寧沉降分析儀,如圖3-4-12所示。淘析過程是在一個直徑為70~100mm、高度為150~170mm的玻璃杯1中進行的。杯內裝有一根直徑約為6~10mm的虹吸管2。虹吸管的短管部分應插入杯內,使其管口下端距固體沉淀物料面留有5mm的距離。虹吸管另一端帶有管夾3,插入到溢流收集槽4內。

流接收裝置等。如圖3-4-13所示為一組四管水析器。

這種連續水析器一次可獲得多級產品,操作簡便,只要保持工作正常(及時放出管內氣泡且不使礦粒堵塞膠管),所得結果就較為準確,但水析時間較長。
本篇內容于 2017-06-25 18:07:02 已補充更新上一篇:球徑半理論公式的驗證分析——球徑半理論公式的適應性分析
下一篇:離心沉降法
如果您想了解我們的產品,可以隨時撥打我公司的銷售熱線或點擊咨詢!![]()
推薦閱讀
TOP169鄂破機價格及型號參數鄂破機
TOP257鄂破機一小時能產多少噸物料鄂破機
TOP3時產1000噸石料生產線設備有哪些?多少錢?石料生產線價格
TOP4140圓錐破時產多少石子圓錐破 圓錐破碎機
TOP5小型碎沙機多少錢一臺?碎石機
TOP6一套碎石機大概需要多少錢碎石機
TOP7生產雷蒙磨粉機(雷蒙磨)的廠家磨粉機
TOP869破碎機一小時處理多少立方石子?破碎機 69顎式破碎機
TOP91060顎破型號有哪些?什么價?顎破 顎式破碎機
TOP10每小時產200噸的石子破碎機多少錢一臺?破碎機
TOP11時產500噸石子生產線配置方案_廠家報價生產線
TOP12銷量較好的雷蒙磨粉機型號有哪些雷蒙磨粉機
換一換 ![]()
想讓資深工程師為您設計生產方案?想獲取全套設備優惠報價單?請留言,專業經理即刻開始為您一對一服務?。ú挥脫男畔⑿孤?,我們將為客戶提供信息保密服務?。?/p>
來廠考察即可獲取資深工程師為您設計方案
多機型現貨可選,簽訂合同,2天內發出
售后團隊親臨現場,指導設備安裝、試車,完成交付
跟蹤砂場運營情況,提供生產運營指導,保障砂場快速盈利
河南紅星礦山機器有限公司 總部地址:鄭州市高新區梧桐街與紅松路交叉口中國高端礦機生產出口基地園區
工程師免費設計方案已有162位獲得心儀的方案
算一算 搭配一條合適的生產線需要多少錢?
點擊獲取報價